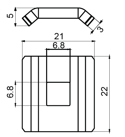
The washer is used for connecting wire mesh trays to each other, manufacturing wire mesh tray system accessories, and fastening the wire mesh tray to mounting accessories. It is installed in combination with an M6x15 screw.
Code:
ATK-7K D
Basic features









